Canon patenkan kamera ponsel dengan lensa modular
Hal tersebut berarti mungkin ada kesempatan untuk menyatukan, mencocokkan, dan menambahkan kombinasi lensa yang berbeda untuk berbagai efek.
Source: PetaPixel
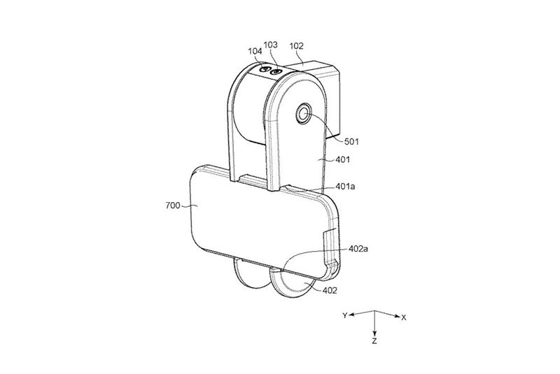
Canon telah mengajukan paten untuk “perangkat pengambilan gambar dan mekanisme penyesuaian” baru yang tampaknya menjadi aksesori kamera telefoto berdesain clip-on untuk ponsel. Ini memiliki desain lensa modular yang memungkinkan beberapa lensa ringkas untuk ditukar, dan lensa dipasang secara magnetik.
Hal tersebut berarti mungkin ada kesempatan untuk menyatukan, mencocokkan, dan menambahkan kombinasi lensa yang berbeda untuk berbagai efek termasuk sudut super lebar dan makro. Desain paten awalnya ditemukan oleh Canon News pada Oktober 2020, tetapi publikasi resmi aplikasi paten (JP,2019-235097) yang diajukan di Jepang diterbitkan pada 15 Juli 2021.
Tinjauan paten menjelaskan perangkat pencitraan dengan alas yang mampu menampung ponsel dan lensa yang dapat diputar hingga 270 derajat, dengan celah di bagian alas untuk menampung lensa saat tidak digunakan. Unit kamera yang digambarkan dapat dioperasikan dari jarak jauh.
Dilansir dari PetaPixel (29/7), tujuan dari perangkat ini adalah untuk menyediakan sistem yang dapat beroperasi sendiri atau meningkatkan kemampuan kamera ponsel yang ada, sembari membuatnya mudah untuk dipindahkan saat tidak digunakan. Dokumen paten menyatakan kamera akan memanfaatkan sensor CMOS dan prosesor yang mampu menyesuaikan konversi ruang warna, konversi gamma, white balance, AE, dan koreksi flash.
- POCO Resmi Luncurkan Tablet Pad M1 dan Pad X1, Performa Ekstrem untuk Gaming dan Produktivitas
- Meta Luncurkan Oakley Meta Vanguard, Kacamata Pintar untuk Atlet dengan Fitur AI
- TECNO SPARK 40 Pro Series resmi meluncur, harga terjangkau fitur gak main-main
- nubia After Hours Talk: Inovasi dan Masa Depan Gaming Indonesia
Sistem ini juga akan memiliki intergrasi untuk gambar JPG dan video. Meskipun perangkat ekstenal seperti ini bukanlah hal baru, sistem dari Canon memiliki beberapa focal length yang ringkas dan mudah dibawa, artinya ini jarang ditemukan oleh pabrikan lain.
Tampaknya meskipun desainnya aneh, Canon berusaha membuat sistem baru yang dapat secara signifikan memperluas fungsionalitas kamera ponsel, menjadikannya lebih mudah untuk meninggalkan perangkat DSLR atau mirrorless saat bepergian. Meskipun paten telah diajukan, masih perlu waktu bertahun-tahun untuk hadir secara komersial.









