Harley-Davidson pakai teknologi gyroscope untuk bantu stabilisasi
Perusahaan otomotif Harley Davidson baru saja mengajukan paten gyroscope untuk sepeda motor buatannya. Dengan begini, sepeda motor akan tetap stabil meski berjalan dengan kecepatan sangat rendah.
Source: Cycle World
Salah satu tantangan dalam mengendarai sepeda motor adalah mengatur keseimbangan dengan bobotnya yang lumayan berat, misalnya di Harley-Davidson. Meski begitu, perusahaan otomotif ini menyediakan solusi untuk masalah ini. Pasalnya, Harley-Davidson baru saja mendapatkan paten untuk sistem gyroscope di sepeda motor buatannya.
Untuk diketahui, sistem gyroscope ini akan hanya akan bekerja pada kecepatan rendah. Hal ini akan membantu pengguna untuk menjaga keseimbangan sepeda motor ketika melaju dengan lambat. Tidak hanya itu, dalam paten ini, Harley juga memungkinkan sepeda motor untuk lebih mudah diangkat ketika sudah terjatuh.
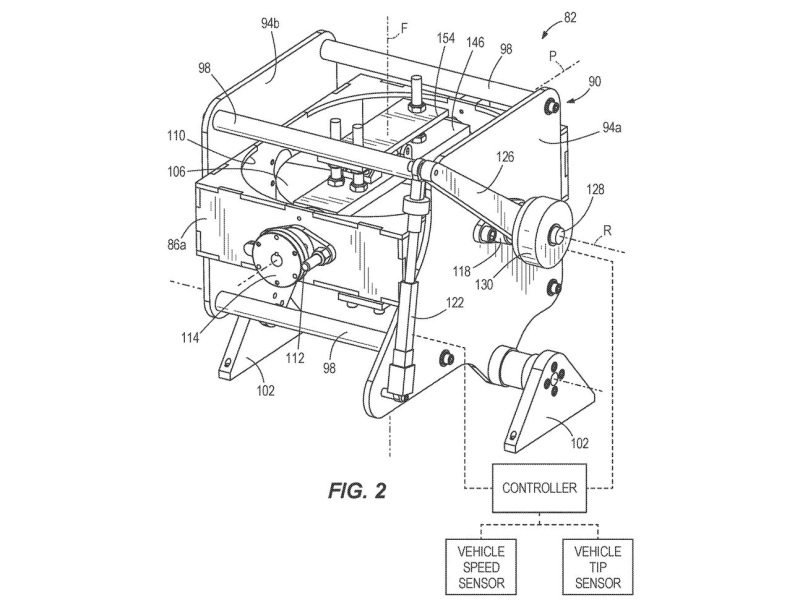
Dilansir dari Cnet (10/6), sistem gyroscope ini didesain agar dapat masuk di dalam penutup atas Harley Davidson. Untuk memakainya, pengguna tidak perlu menambahkan apa pun ke sepeda motor mereka. Tidak hanya itu, konsep ini juga memungkinkan pengguna untuk melepasnya kapan saja.
Seperti gyroscope pada umumnya, perangkat ini juga akan bekerja dengan mengandalkan motor elektrik untuk memutar beban berat dengan cepat, kira-kira antara 10.000 - 20.000 rpm. Gerakan itu akan memberikan efek stabil pada sepeda motor dalam kecepatan rendah. Gyro ini akan mati ketika kecepatan sepeda motor lebih dari 5 km/jam. Dengan kecepatan lebih dari itu, roda sepeda motor akan memberikan efek gyro alami.
Sistem gyro ini tidak hanya dapat digunakan pada satu seri spesifik saja. Artinya, selama pengguna memiliki sumber tenaga dan head unit, perangkat ini akan dapat bekerja.








